WHAT SHOULD I KNOW ABOUT SOLAR?

HISTORY 101

  • The history of solar panels is intertwined with the discoveries & contributions of several notable scientists & inventors. In 1839, the French physicist Edmond Becquerel made a groundbreaking observation when he discovered that certain materials could generate an electrical charge when exposed to light. Although the initial solar panels developed from this discovery were not efficient enough for practical use, they served as valuable instruments for measuring light intensity.
  • It wasn't until 1873 that the English electrical engineer Willoughby Smith made a significant breakthrough. Smith found that light hitting selenium could cause a charge, replicating Becquerel's observation. Building upon Smith's work, William Grylls Adams & Richard Evans Day successfully recreated the experiment in 1876 & published their findings in "The action of light on selenium." This marked a crucial milestone in understanding the photovoltaic effect & paved the way for further advancements in solar technology.
  • In 1881, Charles Fritts, an American inventor, made a notable contribution by creating the first commercial solar panel. Fritts' design was characterized by its ability to produce a continuous & considerable electrical force not only from direct sunlight but also from dim, diffused daylight. However, these early solar panels were still relatively inefficient compared to traditional coal-fired power plants.
  • The 20th century brought further progress in solar panel development. In 1939, Russell Ohl made a significant breakthrough by designing the solar cell layout that forms the basis of many modern solar panels. Ohl's design, patented in 1941, contributed to the improved efficiency & performance of solar cells.
  • The true breakthrough in commercial viability came in 1954 when Bell Labs, using Ohl's design, created the first commercially viable silicon solar cell. This milestone marked a turning point in solar panel technology & set the stage for the widespread adoption of solar energy as a renewable power source.

HOW IS A SOLAR PANEL CONSTRUCTED?

  • Cover Glass: The topmost layer of a solar panel, typically made of tempered glass or a similar material. It protects the underlying layers from external elements like weather & debris while allowing sunlight to pass through.
  • Transparent Adhesive: A layer that bonds the cover glass to the rest of the solar panel. It ensures structural integrity & prevents moisture or contaminants from entering the panel.
  • Antireflection Coating: A thin film applied to the cover glass to reduce reflection & increase light absorption. This coating minimizes the loss of sunlight due to reflection, allowing more photons to reach the underlying layers.
  • Front Contact: Also known as the front electrode, this layer is typically made of a thin layer of metal, such as silver or aluminum. It collects the electrons generated by the solar panel when exposed to sunlight & provides a path for them to flow out as electrical current.
  • N-Type Semiconductor: The next layer in the solar panel structure. It is typically made of a thin layer of silicon doped with phosphorus, which introduces extra electrons, creating a negative charge. This layer forms the negative terminal of the solar panel.
  • P-Type Semiconductor: Situated beneath the N-Type semiconductor, this layer is also made of silicon but is doped with boron or other elements to create a positive charge. It has fewer electrons & forms the positive terminal of the solar panel.
  • Back Contact: The final layer of the solar panel, usually made of a thin layer of metal like aluminum. It collects the electrons generated in the N-Type & P-Type semiconductors & provides a path for them to flow out of the solar panel, completing the electrical circuit.

SOLAR PANEL OPERATION

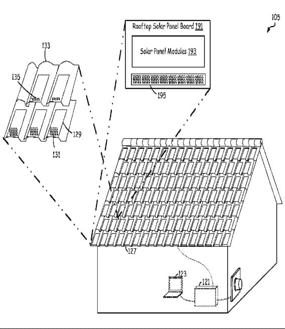
  1. Sunlight Exposure: Solar panels are installed in a location with ample sunlight exposure, typically on rooftops or open areas. The panels are made up of photovoltaic (PV) cells, which are responsible for converting sunlight into electricity.
  2. Photovoltaic Effect: When sunlight hits the solar panels, the PV cells within the panels absorb the photons (light particles) from the sun. This absorption creates an electric field across the layers of the PV cells.
  3. Electron Excitation: The absorbed photons transfer their energy to electrons in the PV cells, causing them to become energized. This energy excites the electrons, allowing them to break free from their atomic bonds & generate an electric current.
  4. Direct Current (DC) Output: The electric current generated by the PV cells is in the form of direct current (DC). This DC electricity flows through the wiring within the solar panels & is collected at the terminals.
  5. Inverter: Since most homes & businesses use alternating current (AC) electricity, an inverter is necessary to convert the DC electricity from the solar panels into AC electricity. The inverter takes the DC power & converts it to AC power, matching the standard electricity used in buildings.
  6. Protection & Control System: In larger solar installations, such as systems with a capacity of 30kW or more, a protection & control system is employed. This system ensures the safe & efficient operation of the solar array by monitoring voltage, current, temperature, & other parameters. It also provides protection against electrical faults & abnormal operating conditions.
  7. Switchboard: The AC electricity generated by the solar panels & converted by the inverter is then fed into the switchboard. The switchboard serves as a central distribution point, where the electricity can be routed to power various loads within the building or facility.
  8. Utility Meter: The utility meter measures the amount of electricity consumed by the building. When the solar panels produce excess electricity, it flows into the utility grid & is recorded by the meter as a credit. Conversely, when the solar panels do not generate enough electricity, electricity is drawn from the grid, & it is recorded as a charge on the meter.
  9. Grid Connection: Solar installations are typically interconnected with the local utility grid. This grid connection allows for the seamless transfer of electricity between the solar panels & the utility grid. When the solar panels produce more electricity than is needed, the excess power is fed back into the grid. Conversely, when the solar panels do not generate sufficient electricity, power is drawn from the grid to meet the demand.